Category Archives: Blog
How To Control The Machining Speed Accurately and Effectively?
How to control the machining speed so as to improve the production capacity under the [...]
Dec
Selection Of Geometric Tolerance
Introduce selection of geometric tolerance, such as selection item, principles, datum features and selection values.
Dec
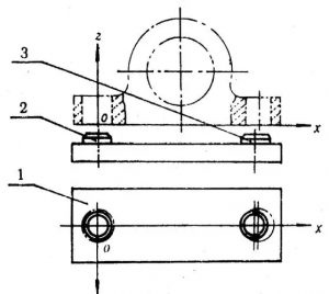
Numerical Relationship Among Dimensional Tolerance, Geometric Tolerance And Surface Roughness
Numerical relationship among dimensional tolerance, geometric tolerance and surface roughness
Dec
Introduction To Common Fixture Types
In a broad sense, in the technological process, the devices used to install workpieces quickly, [...]
Nov
The Skills Of CNC Turning Thin-Walled Parts
In the process of cutting, the thin wall is easy to deform due to the [...]
Nov
What Is The Purpose Of Steel Quenching And Tempering?
The heat treatment method of high temperature tempering after quenching is called quenching and tempering [...]
Nov
GD&T Angularity Introduction
In the mechanical drawing of a part, angular tolerance allows the designer to specify the [...]
Nov
Measuring Instruments Commonly Used In The Machining Workshop
Measuring is an important for the machining parts, so we introduce some commonly measuring instruments [...]
Nov
Introduction And Difference Between Hot Rolled Steel And Cold Rolled Steel
Hot rolling and cold rolling are processes of forming steel plates or profiles, which have [...]
Nov
Summary Of 6 Techniques For CAD Drawing Import
When the electronic drawings cannot be imported or are incomplete, we can try hard to [...]
Nov
5 Basic Requirements For Qualified Machined Parts
Machining part quality is very important in the industry, so this post, we will introduce [...]
Nov
3 Main Failure Modes Of Mechanical Machined Parts
Failure forms of mechanical parts: overall fracture, plastic deformation, erosion, wear, gluing and contact fatigue.
Nov
How To Choose The Plastic Material For Machining Mechanical Parts?
Now there are many kinds of plastics on the market, so what kind of plastics [...]
1 Comments
Oct
Machined Parts Laser Etching Introduction
This article explains everything you need to know about laser etching with anodized aluminum and [...]
Oct
Stainless Steel Passivation Treatment
Passivation is a method that converts the metal surface into a state that is not [...]
Oct
Alodine/ Chem film / Chromate Conversion Coating For Aluminum Machined Part
Alodine coating is an aluminum metal finish that helps protect the metal from corrosion. Since [...]
Oct
Process And Benefits of Galvanized Steel Machined Parts
Galvanized metal is one of the most popular and universal metal surface treatments. The versatility [...]
Oct
Analysis Of The Difficult Cutting Of Stainless Steel 304
The main reason why stainless steel is difficult to machine is that its thermal conductivity [...]
Oct



